接到朋友介绍的一个需求,开发一个简单的 CRM 应用,需求是一个月嫂(保姆)中介公司提出的,主要用来管理客户和月嫂,记录公司客服客服人员与客户的沟通记录、管理月嫂以及记录月嫂的服务客户记录。接到需求的第一判断应该使用 Laravel 框架进行开发,仔细和客户沟通过之后,发现整个 CRM 系统没有太复杂的逻辑,主要时记录信息和查找信息、以及根据条件进行一些自动化处理,于是决定用自己熟悉的 WordPress 进行开发。
CRM 系统的数据结构
如下图所示,整个系统主要分为以下几种数据,其中前三种数据都可以用 WordPress 的自定义文章类型实现,最后的用户数据是 WordPress 默认的用户管理,在这里添加管理公司内部管理员。
- 月嫂客户:新建一个“月嫂客户”的文章类型,附加一些自定义字段,用来管理月嫂类型的客户。
- 育婴客户:新建一个“育婴客户”的文章类型,附加一些自定义字段,用来管理月嫂类型的客户。
- 员工信息:新建一个“员工信息”的文章类型,附加一些自定义字段,用来管理月嫂(保姆)。
- 上户记录:用来记录月嫂服务的客户(此数据关联在月嫂客户和育婴客户管理中,在左侧主菜单中不显示)。
- 回访记录:用来记录公司客户回访客户的信息(此数据关联在月嫂客户和育婴客户管理中,在左侧主菜单中不显示)。
- 用户管理:WordPress 默认的用户,这个没什么好说的。
CRM 系统数据之间的关联
CRM 系统中,数据之间的关联是非常重要的,正确的数据关联可以把各种信息有机的组织在一起,方便管理和查看。就本文介绍的 CRM 系统来说,“月嫂客户”和“育婴客户” 这两个数据是并列的,数据基本一样。就拿“月嫂客户” 来举例子,说明一下月嫂客户是怎么和其他几种数据关联在一起的,如下图:
- 客户信息:推荐人员是客服为月嫂客户推荐的月嫂,从“员工信息”里面选择,“跟单人员” 时公司内部负责与客服沟通的人员,从“用户” 里面选择。其他的数据都是月嫂客户本身的数据。
- 回访记录:客服添加的回访记录,一个月嫂客户会有多条回访记录,回访记录保存在 “回访记录” 文章类型中。
- 上户记录:客服添加的回访记录,一个月嫂客户会有多条上户记录,上户记录保存在 “上户记录” 文章类型中。
添加和编辑关联的数据
因为一个客户会有多条回访记录和上户记录,通过 WordPress 普通的 Metabox 添加和管理这些数据肯定是不现实的,就算勉强能添加,普通的客服人员使用起来也会非常痛苦。在这个系统中,我们使用了 WordPress 的 thickbox 来添加关联的“回访记录” 和“上户记录”,点击 “添加上户记录” 时,弹出如下图所示的界面,信息输入完成后,点击“添加” 按钮,即可保存数据到“上户记录” 中,并把这条上户记录关联到当前客户。然后以表格形式显示添加的记录到当前页面,一目了然。
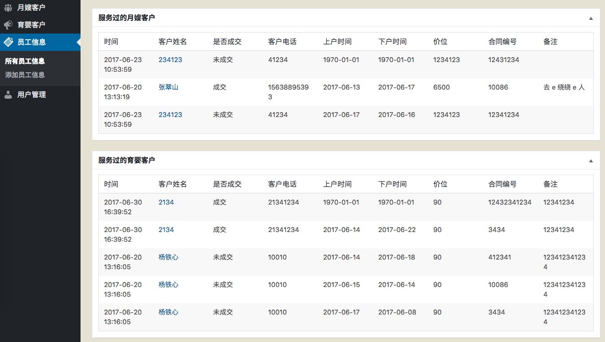
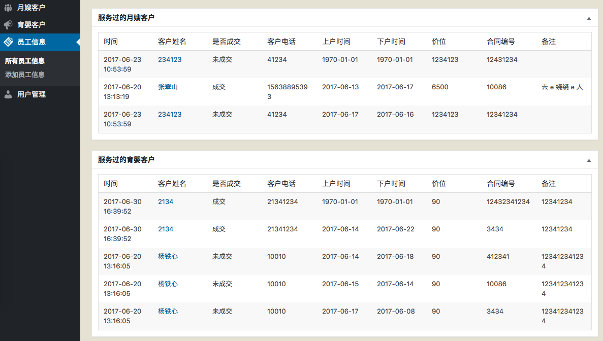
在员工信息中反向显示关联的客户数据
除了在客户信息中显示服务过该客户的月嫂,我们还需要在“员工(月嫂)”信息中显示该员工服务过的客户,方便审核员工的工作经验,如下图所示:
该系统开发完成,上线以后,客户花了两周的时间把客户信息和员工信息输入到了系统中,再查找信息时,直接搜索员工或者客户的姓名就可以很快找到需要的信息了,不用再花费时间去翻纸质资料查找信息了,节省不少了时间,提高了效率。
除了 CRM 系统,以 WordPress 作为应用开发框架,我们还可以快速开发一些其他的企业内部管理系统,来实现各种各样的需求,帮助公司实现信息化管理、提高工作效率。相比包含了很多不需要功能的臃肿 CRM 系统来说,定制的 CRM 系统要节省很多费用、使用上也会更容易上手。







4 thoughts on “用 WordPress开发一个简单的 CRM 应用-主题或插件形式”
不错,拜读了。
我们公司正好需要一个类似的系统,怎么找你开发?
WordPress还能做这个啊,佩服。
何止这个,把 WordPress 当成一个MVC 框架来用,能做的多了。